charles、curl、postman的梦幻联动
charles是一个http监视器,可以查看计算机与internet之间所有http、https的流量
curl的全称是client URL,是个命令行工具,用来请求 Web 服务器
postman是curl命令行的界面化,更易于操作
常规操作
我们在做开发时,通常会在本地启动一个http server,通过浏览器访问localhost,如果我们依赖远端服务,则通过proxy去进行请求转发。远端服务返回一个500或404时,这时我们需要断定是自己调用姿势的问题,还是本身服务的问题。curl或postman此刻闪亮登场。
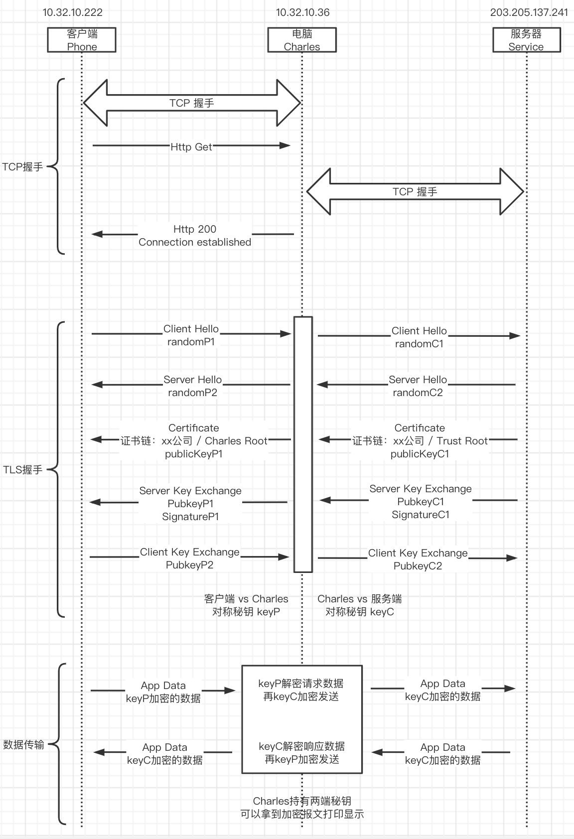
charles通常扮演的是一个中间人,更直观的可以看下图
不仅可以用来分析web端的问题,也可以用来分析手机端的问题。
这些工具在我们的日常开发下,为开发和问题定位带来了便利。如果仅仅止步于此,确实有些无聊。
向左一步走
某平台开启了秒杀或者抢购,通过charles抓包,分析请求。配合定时任务,在某个时间点定时开启,将任务通过electron打包进行分发,或者通过Flutter上架APP。一个代抢工具华丽丽的诞生了,省时省力。
配合puppeteer,则可以生成一个自动化工作流
最后
工具是乏味的,想象力是丰富多彩的。



